 |
| E16 RL6-16 |
 |
| E27 RL6-25 |
 |
| E33 RL6-63 |
 |
| E16 RL6-16 |
 |
| E27 RL6-25 |
 |
| E33 RL6-63 |
 |
| E27 3J RL6-25 3J |
 |
| E33 3J RL6-63 3J | |
| ■适用范围 |
| 本产品适用于交流50HZ(或60HZ),额定电压500V,额定电流63A的线路中,作电气设备的短路或过载保护之用。 |
| ■型号及其含义 |
 |
| ■主要技术参数 |
| 型号 |
额定电压 |
额定电流(A) |
额定分断能力(kA) |
熔断体额定耗散功率(W) |
支持件重量(g) |
熔断体重量(g) |
| 支持件 |
熔断体 |
l1 kA |
COSφ |
| RL6-16 |
500V |
16 |
2,4,5,6,10,16,20,25 |
80 |
0.1~0.2 |
≤5 |
95 |
40 |
| RL6-25 |
25 |
2,4,5,6,10,16,20,25 |
≤7.5 |
120 |
52 |
| RL6-63 |
63 |
30,35,40,50,63 |
≤15 |
155 |
71 | |
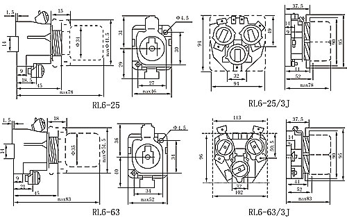
| ■外形及安装尺寸 |
| 1、熔断体的外形尺寸见下图及表 |
 |
| 型号 |
RL6-16 |
RL6-25 |
RL6-63 |
| 2-6 |
10 |
16 |
20-25 |
2-6 |
8-10 |
16 |
20 |
25 |
30-40 |
50 |
60-63 |
| A |
50 |
50 |
| B |
12.5 |
21 |
27 |
| C |
11.3 |
13 |
20 |
| D |
6 |
8 |
10 |
12 |
6 |
8 |
10 |
12 |
14 |
16 |
18 |
20 | |
| 2、熔断器支持件外形安装尺寸见下图 |
 | |